
GLL 型立式冷却器
更新时间:2016-12-14 13:18:04点击次数:1289次
相关介绍
|
|
|||||||||||||||||||||||||||||||||||||||||||||||||||||||||||||||||||||||||||||||||||||
|
|||||||||||||||||||||||||||||||||||||||||||||||||||||||||||||||||||||||||||||||||||||
|
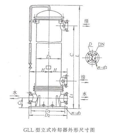
注:GLCA型与GLC型外形尺寸相同,油、水口有螺纹和法兰两种冷却器 |
|||||||||||||||||||||||||||||||||||||||||||||||||||||||||||||||||||||||||||||||||||||
|
我厂将根据客户来样来图非标产品进行设计,报价. |

|
|
|||||||||||||||||||||||||||||||||||||||||||||||||||||||||||||||||||||||||||||||||||||
|
|||||||||||||||||||||||||||||||||||||||||||||||||||||||||||||||||||||||||||||||||||||
|
注:GLCA型与GLC型外形尺寸相同,油、水口有螺纹和法兰两种冷却器 |
|||||||||||||||||||||||||||||||||||||||||||||||||||||||||||||||||||||||||||||||||||||
|
我厂将根据客户来样来图非标产品进行设计,报价. |